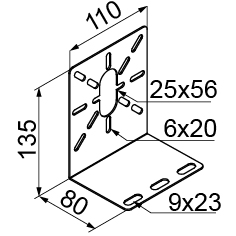
Применение
Монтаж коробок на лотках, кабельростах,
фасонных элементах.
Материал
Cталь, оцинкованная методом Сендимира
PN-EN 10346:2011.
Под заказ:
F- сталь, оцинкованная методом
погружения PN-EN ISO 1461:2011
E- кислотостойкая сталь
L- порошковая покраска любым цветом

