DDB Дыропробивной инструмент для жести - русская версия - Katalog produktów BAKS

DDB Дыропробивной инструмент для жести

Информация

Для проделки отверстий в
трапециевидной жести.
Особенно пригоден для ускоренного
монтажа потолочных подвесок "WT".

Версии
Кабельные трассы - BAKS Кабельные трассы - BAKS
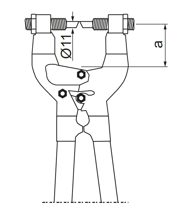
Символ Каталожный номер размер a мм Макс. величинараскрытиямм диаметротверстиймм кол-во штук в 1 комплекте
DDB
Кабельные трассы - BAKS
700000
Кабельные трассы - BAKS
33
Кабельные трассы - BAKS
70
Кабельные трассы - BAKS
11
Кабельные трассы - BAKS
1
добавлять
Примеры
Кабельные трассы - BAKS Кабельные трассы - BAKS