ZTK Beam Clamp - English version - Katalog produktów BAKS
0.0 Cable Management Solutions – BAKS Cable Management Solutions – BAKS
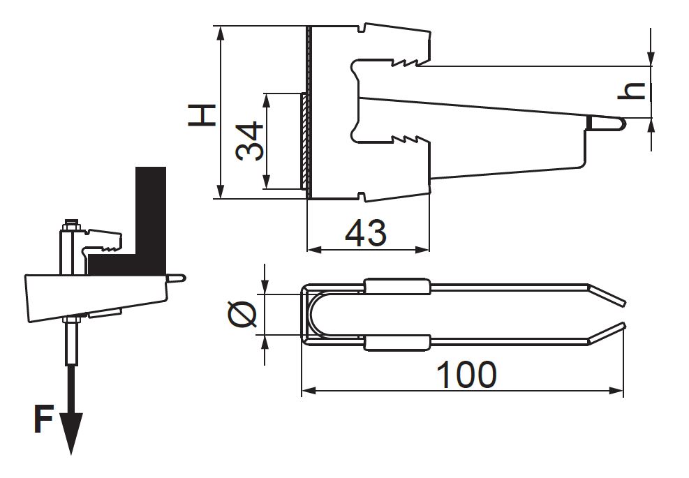
Information

Mounting rods, clamps, etc. to: I-beams, angle profiles, etc.

Material

S - Sendzimir method galvanised steel PN-EN 10346:2015-09

Product versions
Cable Management Solutions – BAKS Cable Management Solutions – BAKS
Symbol Catalogue number Size Ø (mm) Size h (mm) Size H (mm) Size a (mm) Maximum load Fmax(kN) Weight 1 pc. (kg) Quantity (pcs.)
ZTK6/8
Cable Management Solutions – BAKS
751109
Cable Management Solutions – BAKS
6-8
Cable Management Solutions – BAKS
8-20
Cable Management Solutions – BAKS
61
Cable Management Solutions – BAKS
43
Cable Management Solutions – BAKS
2
Cable Management Solutions – BAKS
0.15
Cable Management Solutions – BAKS
50
Add
ZTK10
Cable Management Solutions – BAKS
751209
Cable Management Solutions – BAKS
10
Cable Management Solutions – BAKS
8-22
Cable Management Solutions – BAKS
61
Cable Management Solutions – BAKS
43
Cable Management Solutions – BAKS
3.50
Cable Management Solutions – BAKS
0.16
Cable Management Solutions – BAKS
50
Add